MacBook トラックパッドを使用すると、macOS ポインタを制御し、簡単なジェスチャを使用してオペレーティング システムを簡単に操作できます。 Mac の登場以来、最小限の進化を遂げた Mac の一部。最新の MacBook Pro では、精度が向上し、マルチタッチ ジェスチャ検出が改善され、ForceTouch が組み込まれ、さらに大型化されました。ただし、Apple の特許によれば、将来的に大きな変更が加えられる可能性があります。
これは新しい特許ではなく、実際には 2004 年に同社によって登録されましたが、新しいアイデアと改良により常に更新されています。この特許では、 Apple はより高度なトラックパッドを作成する可能性を検討しています。主なアイデアは 2 つあります。

- 幅の広い trakcpad は3 つのセクションに分かれており、各セクションは異なるアクションを実行することを目的としています。たとえば、トラックパッドの左側を使用すると、ポインタで画面内を移動し、右側を使用するとウィンドウを移動します。
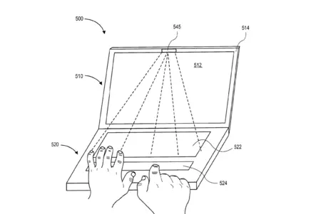
- 深度カメラと連動する幅広のトラックパッド。 MacBook の FaceTime カメラは、 iPhone X の TrueDepth と同様に機能し、 センサーを使用して深度を検出します。これにより、トラックパッドをクリックして位置に応じてさまざまなアクションを実行することで、カメラに現在地を知らせることができます。このカメラは、iPhone X の顔と同様に、さまざまな手のジェスチャーを検出し、オペレーティング システムの動作に使用できます。
この特許は長期にわたるもので、 14年間にわたって開発が進められており、実現までに数年かかる可能性もあります。しかし、iPhone Xが深度センシング技術を大幅に強化したことは、これまで以上に近づいているかもしれません。

最終的な目標は、ユーザーがデバイスを操作する簡単な方法を見つけることです。 Siri の登場、Touch Bar の登場、そしてタッチ パネルがもたらす可能性があります。 MacBook とのインタラクションに新たな飛躍が見られるのは時間の問題であり、この飛躍はトラックパッドによってもたらされる可能性があります。
経由 | パテントリーアップル
アップルフェラで | 今年これまでに見た中で最高の Apple 特許: 防水 Lightning コネクタ
