今週私たちが得たすべてのニュースには、まださらなる余地があります。噂は、この場合、特許やコンセプトの形で、最終的に製品に変換される可能性があります。今日は特に、Apple Watch の画面をアンテナとして使用する可能性、端の劣化に強い新しいデザインのケーブル、色を組み合わせた新しい編組ソロ ループのコンセプトについて話します。
これまで以上に多くのアンテナを備えた Apple Watch

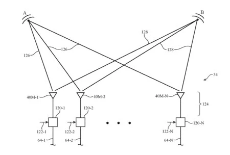
「ミリ波測距機能を持つ電子機器」という特許によると、AppleはApple Watchの画面をWi-Fi、Bluetooth、GPS、UWBなどのアンテナとして機能させる可能性を研究しているという。このアプローチでは、時計の性質上、小型化できないアンテナを時計の内部から取り除くことで、時計のサイズを小さくすることができます。この特許には、同じ Apple Watch のシャーシでも同様の機能を実行できる可能性があるとも言及されています。
例として、ディスプレイなどのコンポーネントにアンテナ電流を誘導し、ディスプレイ、「タッチ センサー」または「ケース」を「Wi-Fi、Bluetooth 用のアンテナとして機能させる」ために使用できるようにすることが望ましい場合があります。 、GPS、セルラー周波数および/または他の周波数を、かさばるアンテナ構造を組み込む必要なしに使用できる。
この文書によると、異なるアンテナ間の物理的な分離のおかげで、異なる信号が到着する方向と強度をより正確に推定できるようになりました。 U1チップのUWBと合わせて、将来のAirTagsを輝かせる理想的な機能です。
充電ケーブルの端部の耐久性が向上

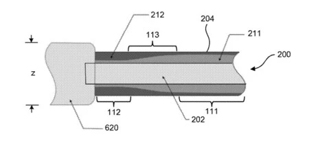
この特許で、Apple は充電ケーブルとデータケーブルの端の磨耗をより耐性のあるものにする方法を研究しています。この特許では、ケーブルの端で断線してしまうのはよくあることだと説明しています。その理由は、硬いボディとその隣の強化部分がすぐに柔らかい部分に変化するためです。これにより、すべての摩耗が集中する非常に局所的なフレックスポイントが作成されます。
これを考慮して、Appleは、密度と硬さが異なる最大3種類の素材を使用して、最外部セクションで端の硬さを「拡散」できるケーブルの作成を検討しています。このようなケーブルを設計すると、曲げ力がより広い面に分散され、摩耗が遅くなるでしょう。
マルチカラーの編み込みソロ ループ ストラップ x 1

今日の噂話は、 Basic Apple Guyアカウントが Twitter で公開したコンセプトで終わります。これらの画像は、Apple が異なるストランドの色を交互に組み合わせた編組ソロ ループストラップを発売する可能性を探ります。同社の他のストラップでもすでに見られたデザインで、通常の春色のリニューアルに合わせて登場する可能性があります。
実は、色の組み合わせにより、単色のストラップに比べて深みのあるエレガントなデザインが生まれます。ソロ ループと編み込みソロ ループをさらに区別するアイデア。
そして実のところ、私たちが会社から抽出できる情報を取り巻く機械は明らかに休むことがないため、さらに多くの噂が続く可能性があります。ただし、今のところは来週に残しておきます。
