私たちは、主に時計のセンサーに追加のセンサーを備えたスマートストラップを介して、 Apple Watch に追加機能を提供するいくつかの Apple 内部テストについて以前から知っていました。これはアイデアですが、 今日公開された特許のため、検討されている唯一のアイデアではありません。
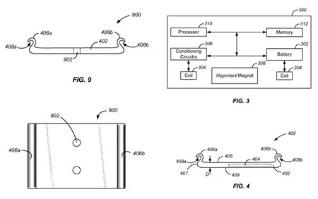
AppleInsider から反映されたこの新しい特許は、現在ストラップを保持しているスロットを使用してApple Watch の下部領域に取り付けるアクセサリについて述べています。その「拡張」では、センサーやコンポーネント、さらにはバッテリーを追加することもできます。
機能は増えたが厚みも増した

この部分はストラップをクリップするためのスロットを保持し、Apple Watch の底部にもう少し厚みを加えるだけです。いずれにせよ、このようなことはこのブランドとしてはあまり典型的ではありません。Apple は常に必要なものをすべて 1 つにまとめることを好んでおり、Watch はモジュール式のものを利用できる最後のデバイスです。
おそらく、このアイデアは、病院などの非常に特殊なケースや場所で必要とされる、非常に特殊なセンサーのために実験されたものでしょう。 Apple は米国の多くの病院と緊密に連携しており、おそらくこの補完機能を利用して、患者のサンプルに特定の研究のための非常に特殊なセンサーを配置できる可能性があります。
この特許は今公開されたばかりですが、 2015 年の日付なので、おそらく製品の誕生時に行われた実験でしょう。文書は結局廃棄用の引き出しに入ってしまったのかもしれません…あるいは、Apple がいつかこれを興味深い方法で利用するかもしれません。あなたには決してわかりません。
