数週間前のブルームバーグによるリークにより、その秘密は事実上秘密ではなくなり、アップルは独自の拡張現実デバイスの開発に取り組んでいます。それがどうなるかは誰にも分かりませんが、一つだけ明らかなことがあるとすれば、それは頭にかぶるのが面倒なヘルメットではなく、むしろ目立たないものになるということです。同社の新しい特許がまさにそれを示唆している。
Apple Watchでもそれを目にしましたが、ほとんどのメーカーは丸い画面を備えた伝統的な時計を模倣しようとしました…彼らは私たちの手首に合わせて巨大な時計を作ることで裁量を脇に置きました。 Apple Watch は、よりエレガントなデザインと無数のストラップや組み合わせと調和することに成功しました。メガネは時計以上にパーソナルなアクセサリーなので、Apple Watch以上にデザインが重視されているはずです。

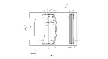
Slashgear が収集したApple の特許が示唆しているように、Apple は、たとえば Oculus Rift や HoloLens よりもはるかに快適で軽量なメガネを探すでしょう。特許の説明にはその管轄権には直接言及していませんが、次のような詳細が記載されています。
考慮しないと、ヘッドマウント ディスプレイは扱いにくく、装着が疲れる可能性があります。このタイプの光学システムを備えたヘッドマウント ディスプレイを長時間使用すると、不快になる場合があります。

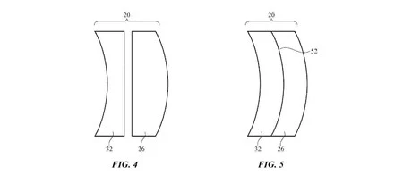
ここで言及されているのは、拡張現実および仮想現実メガネの現在のディスプレイです。巨大で分厚い画面なので、何分間もデバイスを装着していません。 Appleが提案し、特許を取得しているのは、曲面ミラーとレンズを使用して単一システム内で屈折と反射を組み合わせるシステムである。言い換えれば、画面が大幅に薄くなり、拡大ユニットが不要になり、何よりも画面の「薄型化」により製品の重量が軽減されます。
これがさらに進むかどうかは明らかではなく、Apple がすでにこのテクノロジーをテストしているかどうかも明らかではありません。この Apple の特許が私たちに理解させてくれるのは、デザインとユーザーの快適さが他のものよりも優先されるということです。 Apple のアイデアは、私たちがこのメガネをかけていることを意識せずに、何時間もこのメガネを着用できるようにすることです。あとはそれらが実現するだけです。
経由 | スラッシュギア
アップルフェラで | マーク・ガーマン氏によると、Appleは独自のチップとオペレーティングシステムを搭載した独自の拡張現実メガネを2020年に発売する予定
