アップル社は最近、暗い場所でiPhone ユーザーの目を携帯電話のまぶしさから守ることを目的とした技術の特許を取得しました。この特許の主な目的は、表示装置における発光ショックを回避することです。
この問題は、暗闇の中で携帯電話の電源を入れると、画面が環境に対して明るすぎて、暗くなるまでに数秒かかるために発生しました。その時点で、ユーザーの目はすでに明るい画面に衝撃を受けています。
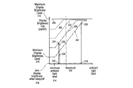
これが新しいテクノロジーの仕組みです

この特許技術が行うことは、デバイスに組み込まれる新しいセンサーのおかげで、iPhone 画面の大量の明るさを正確に制限することであり、周囲の光の量を測定して明るさを最適なレベルに調整することができます。ユーザーの目を傷つけないこと。これにより、電話機の電源がオンになったときに、画面の明るさが適切なレベルになります。
もちろん、ユーザーが目に影響を与えないようにするだけでなく、電話、メッセージ、通知の受信時に画面がオンになるのを防ぐことで、携帯電話のバッテリー寿命を延ばすことにも役立ちます。
モバイルデバイスからの光が目に与える影響を軽減するために、Apple は現在、iOS 9.3 以降を搭載した iPhone および iPad で利用できる夜勤を提供しています。このモードは明るさを下げるだけでなく、ブルーライトをフィルタリングして目の疲れを軽減します。
