U1 チップのおかげで、超広帯域 (UWB) を使用した通信がさまざまな Apple デバイスに徐々に到達しています。 「空間認識」として紹介されたこのチップは、デバイスに興味深い新機能をもたらしますが、UWB はどのような方向を指すのでしょうか? 次のステップは何でしょうか?いくつかの噂を集めて、この分野でどのような新しい展開が見られるかを見てみましょう。
U1、物理レベルでのエコシステムの結合
U1 チップのおかげで、デバイスは他のデバイスとの相対的な位置を非常に正確に計算できます。このテクノロジーにより、たとえば、 AirTag の位置を正確に特定できるようになります。さまざまなデバイスがどこにどれくらい離れているかを空間的に認識することは、新しいエクスペリエンスや機能への扉を開く可能性があります。前回のWWDC21で見たユニバーサル コントロールのケースは、機能するためにまだ UWB に依存していませんが、UWB から大きな利益を得ることができるケースです。

ただし、U1 チップは一部のデバイスでは非常に入手困難です。たとえば、新しいAirPods Max 、Apple TV 4K HDR、またはその新しい Siri Remote では利用できません。このため、このテクノロジーの将来がどうなるのか疑問に感じます。このチップは数世代前から iPhone に搭載されており、たとえばワンタッチで車を開けるなどの用途に使用されています。
その存在感はますます広まりつつあるものの、臆病であり、将来の仮想現実や拡張現実メガネについてはまだ語られていないことを考えると、今週米国の規制当局から承認を受けた特許が注目を集めている。 「 電子デバイスと環境との相互作用のための位置情報システム」と題されたこの特許は、あるデバイスの別のデバイスに対する方向性を利用してエクスペリエンスを向上させ、人々の相互作用の方法を変える方法を検討しています。
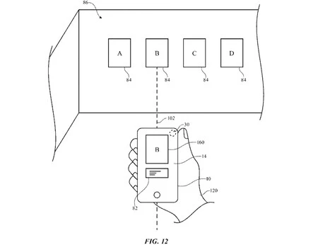
Apple は、リモコンに似たデバイス (特許では iPod classic に似ていますが) がどのように家庭内の 1 つまたは別のデバイスに向けて操作できるかを分析しています。大まかに言うと、Siri リモコンまたは同等品は、テレビに向けられていればテレビの音量を制御し、テレビが向けられている場合にはステレオの音量を制御できると言えます。

この方向性の検出はチップ U1 または U2 によって実行され、角度を正確に決定し、それに応じて動作することが可能になります。このようなシステムにより、Apple は、私たちがポイントする場所に応じて「コントロール」画面に異なる情報を表示できるようになり、これは間違いなく、仮想現実または拡張現実のメガネにとって非常に役立つ可能性があります。
この特許やその他の特許は、Apple が空間認識技術をどのように磨き、開発しているかを垣間見ることができます。このテクノロジは、現在すでに興味深い利点を私たちに提供していますが、進化してより多くのデバイスに普及するにつれて、さらに多くの利点をもたらすでしょう。
