バッテリーには、新しいデバイス内で適切な重要性が割り当てられていますが、多くのテクノロジーが含まれており、その適切な機能や持続時間などはその設計によって異なります。この分野で、Apple は Apple Park の秘密研究所で調査を続けており、最近、非常に興味深い将来の変化への手がかりを与えるいくつかの特許を申請しました。

同じスペースに大型のバッテリーを搭載し、同時に安全性も向上

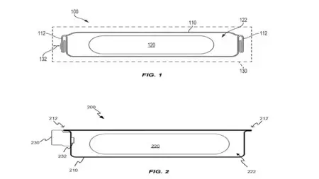
最初の特許で、 Apple は金属要素の中にバッテリーを封入する可能性を検討しています。そうすることで、システムの他の部分からより自律的に機能できるようになります。現在、バッテリーには電荷が含まれているという理由だけで、バッテリーを他のコンポーネントから物理的に分離する必要があります。この分離は、デバイス内の無駄なスペースを表しており、デバイスの内部には、より多くのコンポーネントを取り付け、同時にサイズを縮小する必要がますます高まっています。

バッテリーを他のコンポーネントから電気的に絶縁し、安全な分離を少なくするための金属製エンベロープ。

この特許では、対応するアース接続を備えた金属製エンベロープにより、バッテリーを残りのコンポーネントに近づけることができるため、同じ空間でより多くのエネルギーを供給できると述べています。以下の図では、Apple は図 1 の点線を使用して必要な間隔を表しています。このスペースをなくすことは、わずかに見えるかもしれませんが、製品の設計を変更することなくバッテリーの寿命を最大限に延ばすのに役立ちます

特許

2 番目の特許では、 Apple は膨張したバッテリーを検出し、さらには制御するシステムについて説明しています。車だけでなくApple WatchやiPhoneでも使えるシステム。この特許では、こうしたサイズの変化を検出するために、バッテリーエンベロープ内にコンデンサを使用することを提案しています。これにより、コンデンサの 2 つのコンポーネント間の距離が変化すると、容量も変化し、これがセンサーに警告します。

この静電容量を使用すると、バッテリーのさまざまな部分の膨張を測定できます。これにより、充電パターンを変更し、膨張の継続を軽減または防止するためのより多くの情報がバッテリー コントローラーに提供されます。このシステムは、より徹底的なバッテリーチェックのために Apple Store などに行くようユーザーに通知することもできます

特許2

バッテリーは反応性の高い化学要素であり、特に経年変化により反応や機能が変化するとリスクが伴います。 Mac では、バッテリーのメンテナンスが必要であるという警告がすでに表示されていますが、必ずしも十分な注意が払われているわけではありません。これらの警告は、充電に対するバッテリーの反応に基づいていますが、物理的な状態を検出できないため、 かなり控えめな警告に限定されます。バッテリーのサイズが大きくなったことが検出されると、より明白な警告が発せられ、予期せぬ事態を避けるためにバッテリーの状態を確認することになる可能性があります。

モバイル機器用バッテリーの分野における次の革命を待つ間、Apple が現在の技術を改善する方法を研究し続けていることは明らかです。このようなシステムにより、将来のデバイスはより長い使用時間と、バッテリーがフル容量であるという安心感を提供できるようになります。

同じ空間内でのバッテリーの膨張と容量の増加の検出: 噂・関連動画