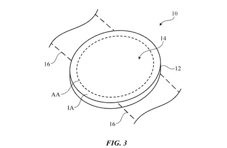
発見されたAppleの新しい特許に付随する画像を見れば、あなたもきっとそう思うだろう。 「丸いApple Watchみたいですね。」あなただけではありません。すべてのメディアがこの小さな円形パネルをこのように説明しています。効率を高めるために、そのエッジは湾曲し、ピクセルは対称的に表示されます。
この特許は現在発見されていますが、登録されたのは 2016 年 1 月です。つまり、最初の Apple Watch がすでに多くの人々の手首にあり、その長方形の画面が現在のウェアラブルの外観になると理解されていた時代に私たちは置かれています。これからも。では…なぜこの円形の画面を録画するのでしょうか?
ネックレスやスクリーン付きヘッドフォン?

手がかりは特許自体の説明にあり、スクリーンが「イヤリング」、ヘッドフォン、または「ユーザーの頭に装着するデバイス」にも使用できる可能性があることを示しています。ここから、センサー付きのネックレス、AirPods 、または外側に小さなスクリーンを備えた他のヘッドフォン、または同社が開発している仮想の拡張現実メガネの表示パネルを想像することができます。
もちろん、これは Apple Watch を丸い時計に変えるという試みが放棄されたという可能性もありますが、文書に記載されている複数のアプリケーションは、将来考えられるさまざまなアイデアのワイルドカードになります。

