長い間、私たちは「カフェインレス」プロジェクト タイタンのアイデアに慣れ親しんでいました。プロジェクト タイタンは、Apple 独自の車を作るというアイデアから始まり、最終的には自動運転サービスに発展しました。そして今、私たちはミン・チー・クオ氏の予測のためだけではなく、あの車についてもう一度考えるべきです。
米国特許庁は、Apple の 2 つの新しいアイデアを承認しました。それらは、ソーラー パネルを車の屋根に組み込む方法と、車のシート自体を振動させて運転中に発生する一連のイベントをドライバーに通知する方法を説明しています。
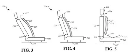
Apple 車の特許である可能性がある

サンルーフから始めましょう。 Apple が提案したアプローチは、車の屋根を横切ってスライドできるプレートを設けるというものですが、中央は狭く、前後は広くなります。このパネルの利点は、太陽光線を可能な限り最高の角度で吸収するために最適な位置に配置できること、または単に車両の後ろに配置して、乗客がその車の透明な屋根で空を楽しむことができることです。
2 番目の特許はより直観的です。 Apple Watch でハプティックモーターがさまざまな種類の振動を発するのと同じように、「Apple Car」にも同様のものが運転席にあります。このようにして、ドライバーをハンドルの前に適切な位置に配置するためにシート自体が移動するまで、予期せぬ出来事を時間内に発見する方法が得られました。
何よりも素晴らしいのは、これらの特許はもはや Apple がテストとして、または他のブランドに何かを売り込む方法としてのみ実行できる特許ではないということです。これらの特許は決して実現しないかもしれないが、クパチーノが自動車の開発に興味を持っていることは明らかだ。しかしいつものように、それが起こるには何年もかかると言わざるを得ません。






