HomePod を特定の場所に配置すると、HomePod が配置されている部屋と、壁や障害物に対する HomePod の位置の分析が実行されます。新しい特許によると、Apple は同様のシステムを MacBook Pro に導入することに取り組んでいる可能性があります。
HomePod から MacBook まで、学んだ教訓

HomePod は音が部屋の中でどのように反射するかを聞くことによって実現する空間認識により、スピーカーがオーディオ出力を空間を満たすように適応させることができます。これは、さまざまなスピーカーを使用して音の周波数と方向性を変調することで実現します。誰もが知っているように、Mac にはいくつかのスピーカーが搭載されており、さらに将来追加される可能性のあるスピーカー (再設計された Apple Silicon を搭載した Mac なんて言ったっけ?) が搭載されているため、この機能がデスクトップにも届く可能性は十分にあります。
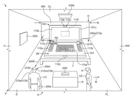
「システムの環境で検出された環境属性に基づいてオーディオ再生システムの物理的属性を調整することにより、リスニング体験を改善する」というキロメートル級のタイトルで、Apple は、HomePod についてすでに知られているシステムと同様のシステムについて説明しています。これについては直接言及されていませんが、特許の説明に使用されるすべてのイラストでは Mac が使用されています。
実際、Apple はこの Mac を「クラムシェルフォーム ファクタを含むポータブルまたはノートブックのパーソナル コンピューティング デバイス」と呼んでいます。つまり、MacBook Air または MacBook Pro です。同じ特許では、 MacBook の画面自体を使用して音の一部を反射し、空間性を高めることができると規定しています。
同時に、Mac のカメラを使用して、環境の形状などの環境のさまざまな属性を検出し、そのサイズの近似値を知ることもできます。この情報と、スピーカーからの音波の放出、およびその後の戻り音の聞き取りを組み合わせることで、Mac は放出される音を調整できるようになります。
この意味で、Apple がHomePod miniのプレゼンテーションでコンピュテーショナル オーディオと呼ばれるものにどのように重点を置いているかを見てきました。オーディオを再生する前に分析して、スピーカー自体の性能に合わせて最適化することができるシステム。このイコライゼーションは、オーディオリターンを聞くことによってフィードバックされ、間違いなく、Mac が置かれている環境から収集できる情報から恩恵を受けるか、恩恵を受けることになります。
この特許によると、このシステムは、たとえば、屋外にいる場合、または周囲が騒がしく、Mac 自体の音が聞こえない場合に、部屋の広さを推定して音量を大きくすることができるという。
デバイスによって再現されるサウンドは、それが暗示するすべての詳細とともに、多くのブランドにとって関心のある分野です。なぜなら、AI がすでに広く使用されている写真とは異なり、AI の進歩にはまだ長い道のりがあるからです。 Apple は、強力なプロセッサを搭載し、自社デバイスのオーディオを改善する方法を長い間模索してきました。その証拠が HomePod、16 インチ MacBook Pro、そしてまもなく HomePod mini になります。
