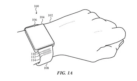
現時点では、販売されている Apple Watch ストラップには電子コンポーネントは含まれていません。さまざまな素材、さまざまな形、さまざまな色がありますが、どれも「スマート」ではありません。これは、私がこれまでに見た中で最も便利な機能の 1 つであるアクティビティ リングの進行状況を表示することで、間もなく変更される可能性があります。
Apple は、 Apple Watch に機能を追加する新しい方法を模索しているようです。たとえば、身体活動がどれだけ進歩したかを示すインジケーターをストラップに組み込むなどです。これにより、常に時計の画面を見る必要がなくなり、一日中いつでもストラップに異なる色や形を提供することもできます。
ストラップの上で指輪を閉じてください
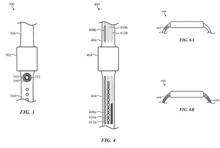
米国特許商標庁で本日公開されたApple の特許は、Apple Watch 用のシンプルなストラップがどのようにしてユーザーにとって有益なデータを表示できるかを示しています。ストラップに沿って 2 本の線があり、留め具の穴の間に断続的なドットがあります。特許によれば、これらの領域は可変的に照明される。

この形式に加えて、特許ではストラップの片面に円を直接追加したり、ストラップの側面の最も厚い部分に点や線を追加したりするアイデアも示されています。つまり、 Apple Watch の進行状況を示すさまざまな形式が鳴ります。

このアイデアは確かに独創的です。これまで、ストラップに追加のセンサーが付いている複雑な特許を見てきましたが、それらは必然的にストラップのスタイルと形状を壊し、時計がはるかに大きくなってしまいました。この場合、シンプルな LED はフォームファクターを妨げる必要がなく、一日を通して変化する動的なデザインも提供します。
Appleが米国特許商標庁に登録している特許の数は計り知れないため、いつか実現するかどうかを判断するのは難しい。いずれにせよ、Apple Watch を使用する最も熱心な運動愛好家のために、売り切れるほど販売する時間はありません。
経由 | USPTO
