Mac と iPad のキーボードのバックライトのおかげで、暗い場所でも快適に文字を書くことができます。外部光源に頼らずに、押すべきキーを正確に確認する方法。しかし、キーボードのバックライトにはそれ以上の効果があります。
Apple は最近、Mac のキーのバックライトを使用して、どのキーに表示される記号を動的に変更する方法の特許を取得しました。従来のキーボードと一部の Mac で見られる TouchBar を組み合わせたもので、コンピューターのこの部分がそれぞれの用途や状況にさらに適応できるようになります。
不動に見えるハードウェアの進化の可能性
この特許はPatently Appleが収集したもので今週登録され、MacBookのキーボードに焦点を当てている。その中で、クパチーノの会社は、今日私たちがコンピューターで目にする事前に印刷されたラベルを使用する代わりに、キーにさまざまな記号を表示できるいくつかのシステムについて説明しています。
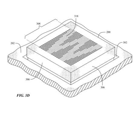
この特許によると、キーには光を通過させる微細な穴があり、各キーの下にはさまざまな記号や文字をインテリジェントに照らすシステムが設置されるという。また、このシステムでは、各キーから発せられるすべての光が、今日の一部のキーボードで発生しているように、キーの側面を通過するのではなく、記号自体に焦点を合わせるようになります。
さらに一歩進んで、この特許では、キーが小さな画面として機能することを可能にする、おそらくマイクロ LED または OLED のピクセルのマトリックスも想定しています。実装は同じですが、精度が向上し、シンボルを表示する際にさらに多くのカスタマイズの可能性が提供され、おそらく異なる言語を管理および使用できるようになります。

ただし、このアイデアは、各キーに小さな画面を取り付けることではなく、キーのさまざまな微細穴が特定の LED に対応し、その LED をオンまたはオフにしてキー上に 1 つまたは別の画像を表示するというものです。このシステムのおかげで、Apple は Mac のキーに新しい素材を使用することができ、アルミニウムを使用できると述べられており、これによりキーボード部分が本体の他の部分と同じ感触と外観を持つことが可能になります。マックのユニボディ。
何度も述べてきたように、特許は必ずしも最終製品に含まれる必要はありませんが、明らかなことは、 Apple がキーボードを調査し、改良したいと考えているということです。私たちの Mac の一部は当然のことだと思われがちですが、ご覧のとおり、まだまだ進化する可能性があります。キーボード自体は物理的なものであり続けますが、iPad や iPhone に搭載されているものにはるかに近く、さまざまな状況にすぐに適応できるものになります。
