すでに多くの携帯電話メーカーが折りたたみ式携帯電話を発売しています。 Honor、Huawei、Motorola、Oneplus、OPPO、Samsung、Vivo、または Xiaomi…そして Apple はどうですか? iPhone Fold は、さまざまなヒンジ機構やより薄い OLED パネルの必要性について述べた、公開されている多数の特許に注意を払えば、避けられない現実です。折り畳み式iPhoneの登場は何年も噂されてきたが、それが終わることはないようだ。
このテクノロジーを搭載したデバイスを発売する意図を明らかにする特許やリークは数多くありますが、Apple はこれらの意図を確認したことはありません。それを踏まえて、私たちはその仮想の折りたたみ iPhone について、その機能と予想される市場発売日の両方について知られている最新情報をレビューします。
目次 (5)
- Appleは折りたたみ式iPhoneをキャンセルしたのか?
- Appleはいつ折りたたみ式iPhoneを発売しますか?
- 折りたたみ式iPhoneにはどのようなスクリーンテクノロジーが搭載されるのでしょうか?
- 折りたたみiPhoneにはどのような機能が搭載されるのでしょうか?
- 折りたたみiPhoneの価格はいくらになる?
Appleは折りたたみ式iPhoneをキャンセルしたのか?
発売前に Apple によってキャンセルされたプロジェクトがいくつかあります。 Apple Car のキャンセルは最後にキャンセルされたものの 1 つであり、最近ではApple が折りたたみ式 iPhone を麻痺させたのではないかという声も聞かれているのが真実です。完全に信頼できる噂ではないようですが、真実は、それが「単純な」停止であって、決定的にキャンセルされるわけではないということです。
真実は、折りたたみ式 iPhone と折りたたみ式 iPad のどちらが先に登場するかについて、噂やリークがやや混乱していることです。後者についてはさまざまな噂もあります。真実は、Apple がそれらのいずれについても何も伝えていないということですが、主なリーカーは折りたたみ式 iPhone の開発が継続していることを認めています。
Appleはいつ折りたたみ式iPhoneを発売しますか?
これは何百万ドルもかかる質問であり、すでにお察しの通り、情報が矛盾しているため、リーカーからも公式の回答はありませんが、Apple からの正式な回答はありません。 2025 年を直接指摘する人もいますが、2026 年を指摘するリーカーの方が多いです。たとえば、サプライチェーンに近いアナリストのロス・ヤング氏やアジアのメディアIT ホームなどです。
ただし、あらゆる好みに合わせた日付があるため、Trendforce で表示される日付も無視することはできません。これは最も信頼できる情報源の 1 つであり、少なくとも 2028 年にはそうなると主張しています。これはすべて、このタイプの折りたたみパネルの主要サプライチェーンでの注文を調査した結果です。
折りたたみ式iPhoneにはどのようなスクリーンテクノロジーが搭載されるのでしょうか?
折りたたみiPhoneの折りたたみ画面は折りたたむことができます。これは明白なことですが、真実は、フォールドにはさまざまなフォーマットが考えられ、そのすべてのうち、Apple がさまざまな特許を提示しており、その結果として次の 2 つのフォーマットが残ります。

- 「シェル」スタイル。ラテンアメリカから私たちを読んでいる人なら、この形容詞は面白いと思うでしょうが、これは Galaxy Z Flip の形式に似た形式で、広げたときの比較的標準的な寸法の携帯電話であり、シンプルなアクセサリに収まります。折りたたんだときのポケット。
- 「ブック」スタイル、Galaxy Z Foldに似たデザインで、折りたたむとほぼ通常のiPhoneになり、広げるとタブレットサイズに近づきます。
両方が発売される可能性も排除されませんが、実際のところ、倒立本のスタイルが最も現実になる可能性が高いのです。数年前、 Apple が実施した耐性テストの一部がリークされ、その中で内側ではなく外側に折りたたまれた iPhone が引用されていました。
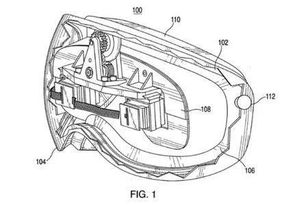
2024 年 5 月に登録された特許に基づいて、同社が「自己修復」を可能にするタイプのスクリーンを研究していることも知られています。 別のインテリジェント クロージャ特許に追加されるものは、デバイスに対する高い耐性を保証します。
もちろん、解決すべき障害はまだあります。今回の発売が遅れ、まだ保証されていない主な理由は、Apple が折り目を目立たせないようにしたり、折り目がつきにくくなることを望んでいないためであると言われています。どちらも他の Android 企業がすでに戦っている戦いですが、どちらも完璧な点に達していないようです。
正確な寸法に関する限り、何も明らかになっていません。もちろん、高解像度と 120 Hz のリフレッシュ レートを備えたフレキシブル AMOLED パネルであることが期待されます。後者は、2021年以降の「Pro」iPhoneによってすでに実現されています。
折りたたみiPhoneにはどのような機能が搭載されるのでしょうか?
折りたたみ式 iPhone の特殊性は、ほとんどのリークが他の機能ではなくこの機能を中心に展開していることを意味します。あるいは、 Apple ですら、さらにどのような要素が追加されるのかわからないということかもしれません。

さて、常識的に考えて、それはiPhone の「Pro」とほぼ同等であると予想されます。これは、2026年にリリースされた場合、まだリリースされていないA21と同じメインチップを搭載することを意味します。市場で最高のものと同等のカメラセットも期待されています。
もう一つ話題になっているのが、Apple Pencilタイプのスタイラスとの互換性です。これは今のところiPadに限定されているが、もしAppleが最終的に同様のサイズに達するiPhoneを発売するとしたら、それを鉛筆で使用することを想像するのはまったく奇妙に思えない。
いずれにせよ、私たちはそれらが仮説であると主張します。代理人として、彼らは「Plus」モデルに期待されるものに近い仕様を備えた折りたたみ式 iPhone を発売する可能性は十分にあります。しかし、Apple の賭けの方が大きいことは理解されています。
折りたたみiPhoneの価格はいくらになる?

市場に投入されるまでに時間がかかる携帯電話であるため、すべての噂がどれほど早いかを考えると、すべての中で最も高価であると想定されていますが、価格について話すことは控えめに言っても危険です。上記と同様に、強力なハードウェアだけでなく、あらゆる折りたたみテクノロジーも備えていることを考えると、2,000 ユーロで購入できると想像するのはそれほど突飛なことではありません。
それはともかく、この範囲は現在のiPhone「Pro Max」 、具体的には現在までに発売された最後のiPhone 15 Pro Maxによって設定されています。基本価格は 1,469 ユーロなので、近年価格が上昇しないと仮定すると、折りたたみ式の価格はそれより少なくとも 100 ユーロ高くなることがわかります (そして楽観的です)。









